Autore:Editor del sito Pubblica Time: 2026-04-23 Origine:motorizzato
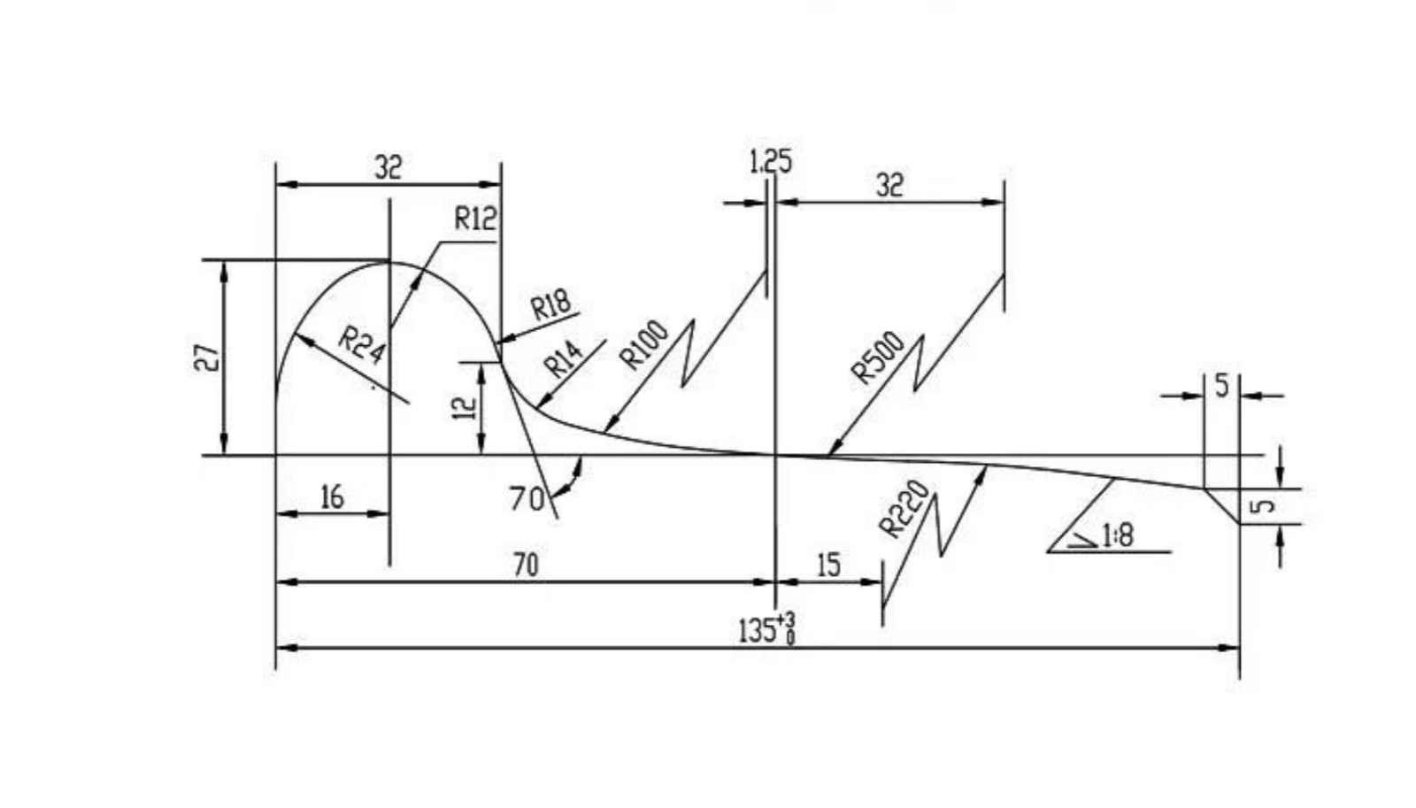
La progettazione della flangia e del profilo del battistrada di una ruota ferroviaria svolge un ruolo fondamentale nel garantire un funzionamento sicuro ed efficiente del treno. Una geometria di contatto ruota-rotaia ben abbinata non solo riduce l'usura e lo stress, ma migliora anche la stabilità di marcia complessiva e le prestazioni in curva.
Quando si progetta il profilo del battistrada della ruota, è essenziale garantire la corretta compatibilità con la forma della testa della rotaia. Un'interfaccia ruota-rotaia ideale può ridurre efficacemente lo stress da contatto e minimizzare l'usura, il che contribuisce direttamente a:
· Miglioramento delle prestazioni nel passaggio in curva
· Riduzione della frequenza e dei costi di manutenzione
· Aumento della velocità critica per la stabilità del treno
Inoltre, il profilo del battistrada di nuova concezione dovrebbe corrispondere fedelmente al profilo usurato nelle condizioni operative reali. Ciò aiuta a ridurre la quantità di metallo rimosso durante la riprofilatura, prolungando così la durata della ruota e riducendo i costi di manutenzione.

La flangia è una caratteristica di sicurezza fondamentale che impedisce il deragliamento. La sua altezza e geometria devono essere attentamente controllate:
· Altezza della flangia: generalmente varia tra 26 mm e 30 mm
· Troppo bassa: aumenta il rischio di deragliamento
· Troppo alta: può causare interferenze con i componenti della rotaia come i bulloni o le spalle della stecca, soprattutto quando l'usura del battistrada è significativa
Per un passaggio sicuro attraverso gli scambi, i diametri delle ruote più piccoli generalmente richiedono altezze della flangia più elevate.
Anche l'angolo della flangia è cruciale. La superficie esterna della flangia deve mantenere un angolo adeguato con il piano orizzontale:
· Angolo troppo piccolo: rischio maggiore di salita della ruota (deragliamento a basse velocità)
· Angolo troppo grande: aumenta la rimozione della lavorazione durante la riprofilatura e può causare il contatto tra la parte superiore della flangia e la rotaia in condizioni di angolo di attacco

Il profilo del battistrada è determinato principalmente dalle condizioni del binario e dalla velocità di funzionamento del treno, piuttosto che dal design strutturale della ruota. Quando non si verificano cambiamenti significativi nell'infrastruttura dei binari o nella velocità operativa, il profilo del battistrada rimane generalmente invariato, anche se la struttura della ruota viene modificata.
Nella maggior parte dei casi, vengono adottati profili del battistrada standardizzati per garantire compatibilità e affidabilità tra i sistemi ferroviari.
Il design della flangia della ruota ferroviaria e del profilo del battistrada è un aspetto vitale della sicurezza e delle prestazioni del treno. Ottimizzando l’interazione ruota-rotaia, controllando le dimensioni della flangia e allineando il design del battistrada alle condizioni operative reali, gli operatori ferroviari possono migliorare significativamente l’efficienza operativa, ridurre l’usura e migliorare la sicurezza generale.